[本站 资讯] 我们从互联网获悉,国家知识产权局专利显示,华为于日前公开了一项自动驾驶相关专利,其融合了摄像装置和雷达两种传感器。

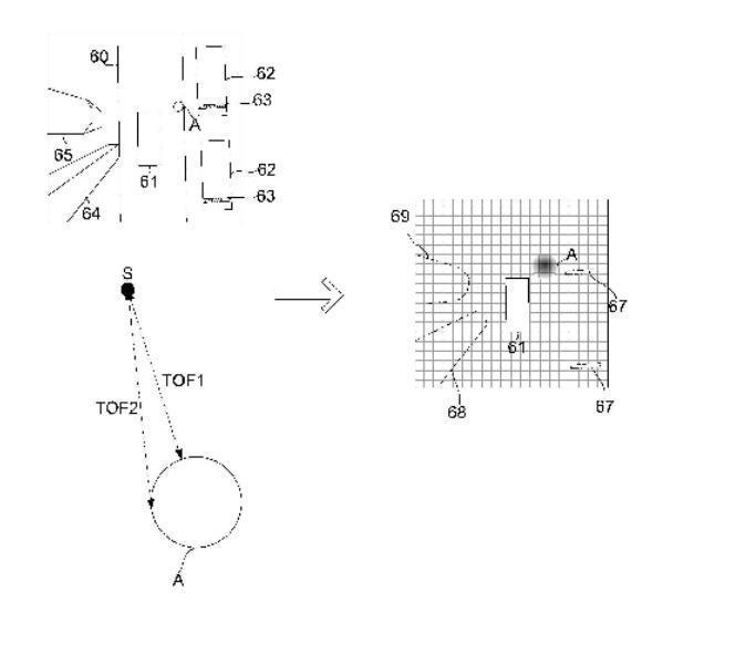
转利文件显示,自动驾驶辅助系统包括摄像装置、至少一个雷达以及处理器,系统被配置可实现方法的技术方案,自动驾驶车辆包括上述的自动驾驶辅助系统。华为申请的方法融合了摄像装置和雷达这两种传感器,并将基于两种传感器所获得障碍物分布信息进行融合,融合后的车辆可行驶区域以概率的形式进行表示。从而可以全面地得到车辆周围的障碍物信息,避免了因为摄像装置的盲区或者雷达的探测范围所导致的探测盲区。


方法包括使用神经网络对摄像装置获取的图像数据进行处理以得到障碍物的第一概率分布;根据雷达回波信号的回波时间和回波宽度获得所述障碍物的第二概率分布;根据障碍物的第一概率分布和障碍物的第二概率分布,获得以概率表示的车辆可行驶区域,所述概率表示车辆不可通行的几率。(编译/本站 马艾骏)
深圳汽车网