[本站 资讯] 当特斯拉赛博越野旅行车(Cybertruck)亮相国内时,很多人被它“怪异”的造型所吸引。尤其在2019年,当它首次亮相的时候,很多车企们也不禁思考“为啥我没想到这一点呢?”

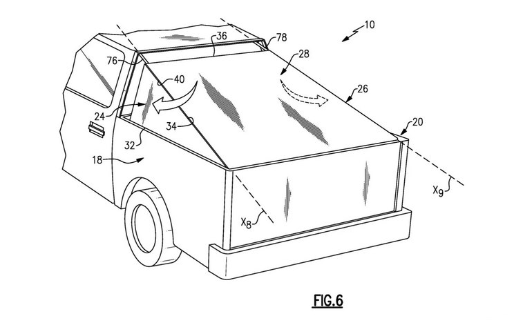
就在不久前,福特向美国专利商标局(USPTO)提交了一项专利,表明该公司正在重新设计福特F-150的尾箱盖,使其整车的造型更像是一块“砖头”。福特想要制造的可转换、可折叠的尾箱盖经过专门设计,可以引导空气远离车身并减少阻力。
空气动力学车身顶盖由三块大致呈三角形的面板组成。该系统将采用一个中央部分,该部分将保留在装载床上,覆盖货箱,而两侧向上以帮助减少阻力。这种空气偏转解决方案将为尾门区域带来更符合空气动力学的设计,减少锐边的数量。

值得注意的是,该系统将连接到F系列型号的传感器,例如,面板将根据行驶速度升高或降低。福特打算使用特殊的适配器和允许安装的空心螺栓,使新机构与现有的架构一起工作。
信息显示,该项目将使用聚合物、玻璃纤维、铝和复合材料等硬质材料。另一种选择是乙烯基和帆布,由框架支撑。

『福特F-150』
当然,您可能还不会在F-150身上发现这个特殊的尾箱盖,因为它只是一个专利申请。福特尚未推出该产品,并且可能仍在考虑这个想法,但尚未决定将其投入生产。期待未来这个设计可以应用到实际车辆上,让我们看看皮卡尾箱究竟会有哪些创意。
深圳汽车网