[本站 资讯]关于马自达将会重新生产转子发动机的传闻从来都没有停止过,目前为止最接近实现的,是其将作为增程器搭载于MX-30增程版车型上,不过该车依旧迟迟未发布。近日,马自达再次申请了基于转子发动机打造而来的混动技术专利,不过未来是否会应用于量产车上依旧无法确定。



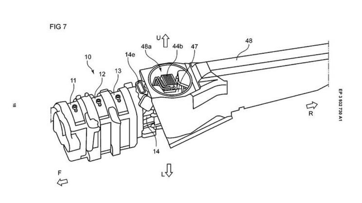
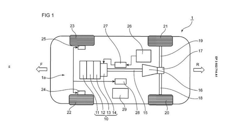
具体来看,此次公布的专利中显示,该系统采用三转子发动机,并采用后轮驱动。由此判断,这套系统很有可能适配去马自达全新的后驱平台,加大了其量产的可能。


『马自达RX-VISION概念车』
另外,专利图中的车身造型类似一款轿跑车型,这不禁令人想到此前发布的马自达RX-VISION概念车,考虑到最后一台转子发动机正是搭载于2012年停产的马自达RX-8上,转子发动机+RX-VISION概念车的量产版本共同复活就更显得纪念意义非凡。那么,你们期待马自达转子发动机复活么?你们会希望它应用于什么类型的车上呢?期待在评论区看到您的精彩留言。
深圳汽车网